USSR SHOP »
Магазин »
Электронные книги »
Наука и образование »
В помощь студенту » Решение Д3-47 (Рисунок Д3.4 условие 7 С.М. Тарг 1988 г)
Купить Решение Д3-47 (Рисунок Д3.4 условие 7 С.М. Тарг 1988 г)

Всего продаж: 1
✅ Методы оплаты: 












Описание товара:
Решение Д3-47 (Рисунок Д3.4 условие 7 С.М. Тарг 1988 г)
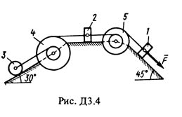
Механическая система состоит из грузов 1 и 2 (коэффициент трения грузов о плоскость F = 0,1), цилиндрического сплошного однородного катка 3 и ступенчатых шкивов 4 и 5 с радиусами ступеней R4 = 0,3 м, r4 = 0,1 м, R5 = 0,2 м, r5 = 0,1 м (массу каждого шкива считать равномерно распределенной по его внешнему ободу) (рис. Д3.0-Д3.9, табл. Д3). Тела системы соединены друг с другом нитями, намотанными на шкивы; участки нитей параллельны соответствующим плоскостям. Под действием силы F = f(x), зависящей от перемещения точки приложения силы, система приходит в движение из состояния покоя. При движении системы на шкивы 4 и 5 действуют постоянные моменты сил сопротивлений, равные соответственно M4 и M5. Определить значение искомой величины в тот момент времени, когда перемещение точки приложения силы F равно s1.
Механическая система состоит из грузов 1 и 2 (коэффициент трения грузов о плоскость F = 0,1), цилиндрического сплошного однородного катка 3 и ступенчатых шкивов 4 и 5 с радиусами ступеней R4 = 0,3 м, r4 = 0,1 м, R5 = 0,2 м, r5 = 0,1 м (массу каждого шкива считать равномерно распределенной по его внешнему ободу) (рис. Д3.0-Д3.9, табл. Д3). Тела системы соединены друг с другом нитями, намотанными на шкивы; участки нитей параллельны соответствующим плоскостям. Под действием силы F = f(x), зависящей от перемещения точки приложения силы, система приходит в движение из состояния покоя. При движении системы на шкивы 4 и 5 действуют постоянные моменты сил сопротивлений, равные соответственно M4 и M5. Определить значение искомой величины в тот момент времени, когда перемещение точки приложения силы F равно s1.