USSR SHOP »
Магазин »
Электронные книги »
Наука и образование »
В помощь студенту » Диевский В.А. - Решение задачи Д4 вариант 24 задание 2
Купить Диевский В.А. - Решение задачи Д4 вариант 24 задание 2
Обновлено: 2025-10-23 09:40:20
$ 0.73
4 продажи
Всего продаж: 4
✅ Методы оплаты: 












Описание товара:
Д4-24 (Задание 2) Диевский
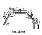
Для представленной на рисунке схеме используя принцип Лагранжа, определить величину силы F (при наличии трения - максимальное значение этой величины), при которой механическая система будет находиться в равновесии. Исходные данные: вес груза G = 20 кН, вращающий момент M = 1 кНм, радиус барабана R2 = 0,4м (у двойного барабана имеется также r2 = 0,2м), угол α = 300 и коэффициент трения скольжения f = 0,5. Ненумерованные блоки и катки считать невесомыми. Трением на осях барабана и блоков пренебречь.
Для представленной на рисунке схеме используя принцип Лагранжа, определить величину силы F (при наличии трения - максимальное значение этой величины), при которой механическая система будет находиться в равновесии. Исходные данные: вес груза G = 20 кН, вращающий момент M = 1 кНм, радиус барабана R2 = 0,4м (у двойного барабана имеется также r2 = 0,2м), угол α = 300 и коэффициент трения скольжения f = 0,5. Ненумерованные блоки и катки считать невесомыми. Трением на осях барабана и блоков пренебречь.
Изображения:
Вас могут заинтересовать:
22.12.2016
43 продажи
Решение задачи 17.1.6 из сборника Кепе О.Э.
Купить
$ 0.74

20.11.2015
39 продаж
Решение задачи К4 Вариант 05 Диевский В.А. Малышева ИА
Купить
$ 0.63

16.11.2015
36 продаж
Решение задачи К2 Вариант 05 Диевский В.А. Малышева ИА
Купить
$ 0.63

21.04.2016
34 продажи
Решение задачи 18.3.4 из сборника Кепе О.Э.
Купить
$ 0.59
01.07.2021
34 продажи
Решение задачи 1.4.3 из сборника Кепе О.Э.
Купить
$ 0.73

20.04.2016
24 продажи
Решение задачи 14.2.1 из сборника Кепе О.Э.
Купить
$ 0.59

16.01.2017
21 продажа
Решение задачи 14.3.1 из сборника Кепе О.Э.
Купить
$ 0.59

03.07.2023
15 продаж
Информационная психология (тест с ответами Синергия/МОИ
Купить
$ 3.7
26.11.2015
14 продаж
Решение задачи Д3 Вариант 04 (задание 1, 2) Диевский ВА
Купить
$ 1.45

15.11.2016
13 продаж
Решение задачи 11.2.5 из сборника Кепе О.Е. 1989 года
Купить
$ 0.63

16.11.2016
10 продаж
Решение задачи 11.4.6 из сборника Кепе О.Е. 1989 года
Купить
$ 0.63

14.08.2009
6 продаж
Задача 12500-0300-0001 (решение от ElektroHelp)
Купить
$ 1.04

14.12.2016
4 продажи
Задача К2 Вар. 28 термех из решебника Яблонский АА 1978
Купить
$ 0.62

20.12.2021
0 продаж
Организация предприятий тест
Купить
$ 2.46

30.05.2017
3 продажи
Решение задачи 11.4.15 из сборника Кепе О.Э.
Купить
$ 0.59

25.04.2016
3 продажи
Решение К1-51 (Рисунок К1.5 условие 1 С.М. Тарг 1989 г)
Купить
$ 0.49
19.01.2021
3 продажи
Современные технологии взаимодействия банка ОТВЕТЫ
Купить
$ 1.46

22.04.2016
2 продажи
Решение С2-28 (Рисунок С2.2 условие 8 С.М. Тарг 1989 г)
Купить
$ 0.49

27.01.2017
2 продажи
C11 Вариант 25 термех из решебника Яблонский А.А. 1978
Купить
$ 1.15

01.06.2020
1 продажа
Решение самостоятельной работы 1 вариант 27 Сетков В.И.
Купить
$ 0.98

16.11.2016
1 продажа
Административное право(1036)(ОЮИ)
Купить
$ 0.97

03.06.2016
1 продажа
Решение Д10-25 (Рисунок Д10.2 условие 5 С.М Тарг 1989г)
Купить
$ 0.49

05.05.2016
1 продажа
Решение Д1-07 (Рисунок Д1.0 условие 7 С.М. Тарг 1988 г)
Купить
$ 0.49
26.04.2016
3 продажи
Решение К3-52 (Рисунок К3.5 условие 2 С.М. Тарг 1989 г)
Купить
$ 0.62
24.04.2016
1 продажа
Решение С3-23 (Рисунок С3.2 условие 3 С.М. Тарг 1989 г)
Купить
$ 0.62
08.12.2016
1 продажа
Решение 19.1.9 из сборника (решебника) Кепе О.Е. 1989 г
Купить
$ 0.79
08.12.2016
1 продажа
Решение 19.1.7 из сборника (решебника) Кепе О.Е. 1989 г
Купить
$ 0.79

12.04.2021
1 продажа
Решение задачи К1 вариант 1 (К1-01) - Диевский В.А.
Купить
$ 0.59

13.04.2021
1 продажа
Решение задачи Д2 вариант 11 (Д2-11) - Диевский В.А.
Купить
$ 0.74

05.06.2008
15 продаж
Философии тесты в МЭИ
Купить
$ 1
26.10.2013
34 продажи
05 Тест ИС как особый объект оценки + ПОДАРОК+БОНУС
Купить
$ 4.88

13.02.2018
1 продажа
Задача №40 Механизация путевых и строительных работ 2
Купить
$ 0.49

01.10.2019
2 продажи
Савельев А.Н. по почте направил в районный суд
Купить
$ 0.17

15.01.2021
0 продаж
Ответ на вопрос №148 из контр.раб.1 по Строительству жд
Купить
$ 0.49

17.04.2020
0 продаж
Сторож Мерзаметов во время дежурства затопил печь
Купить
$ 0.2

18.06.2021
0 продаж
ДВФУ WEBDidactor Управленческий учет - 2 вопроса #146
Купить
$ 0.53

21.06.2021
0 продаж
ДВФУ WEBDidactor Основы маркетинга - 2 вопроса #1242
Купить
$ 0.53

20.06.2021
0 продаж
ДВФУ WEBDidactor Безопасность жизнедеятельности - 2 вопроса #3250
Купить
$ 0.32

21.06.2021
0 продаж
ДВФУ WEBDidactor Налоги и налогообложение - 2 вопроса #2511
Купить
$ 0.53

21.06.2021
0 продаж
ДВФУ WEBDidactor Информационные технологии в профессиональной деятельности - 2 вопроса #4507
Купить
$ 0.53

23.06.2021
0 продаж
ДВФУ WEBDidactor Инновационная стратегия в государственном и муниципальном управлении - 2 вопроса #1
Купить
$ 0.53

22.06.2021
0 продаж
ДВФУ WEBDidactor Планирование и проектирование организаций - 2 вопроса #1504
Купить
$ 0.32

23.06.2021
0 продаж
ДВФУ WEBDidactor Научно-исследовательская работа в управлении персоналом - 2 вопроса #3703
Купить
$ 0.53

27.06.2021
0 продаж
ДВФУ WEBDidactor Кадровые риски и их оценка - 2 вопроса #4542
Купить
$ 0.32

27.06.2021
0 продаж
ДВФУ WEBDidactor Товароведение - 2 вопроса #5203
Купить
$ 0.53

28.06.2021
0 продаж
ДВФУ WEBDidactor Инновационный менеджмент - 2 вопроса #4137
Купить
$ 0.32

28.06.2021
0 продаж
ДВФУ WEBDidactor Кадровая политика государства и организации - 2 вопроса #4512
Купить
$ 0.32

29.06.2021
0 продаж
ДВФУ WEBDidactor Риторика и академическое письмо - 2 вопроса #5099
Купить
$ 0.32

29.06.2021
0 продаж
ДВФУ WEBDidactor Правовое сопровождение местного самоуправления - 2 вопроса #4969
Купить
$ 0.53

29.06.2021
0 продаж
ДВФУ WEBDidactor Маркетинг видов экономической деятельности - 2 вопроса #5263
Купить
$ 0.53