USSR SHOP »
Магазин »
Электронные книги »
Наука и образование »
В помощь студенту » Решение задачи 5.5.3 из сборника Кепе О.Е. 1989 года
Купить Решение задачи 5.5.3 из сборника Кепе О.Е. 1989 года
Обновлено: 2025-10-23 06:44:37
$ 0.79
9 продаж
Всего продаж: 9
✅ Методы оплаты: 











Описание товара:
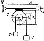
К кубу приложены силы F1, F2, F3 и F4, которые уравновешены силой R. Определить расстояние b силы R от плоскости Oxz, если ребро куба а = 1 м, F1 = F2 = 15 Н, F3 = F4 = 5 Н и R = 40 Н.
Сразу после оплаты вы получите решение задачи Кепе № 5.5.3
Глава 1 - СТАТИКА, тема - 5.5: Равновесие пространственной системы параллельных сил.
Задача выполнена от руки, понятным, разборчивым почерком (сохранена в виде картинки в формате PNG) - откроется на любом ПК, телефоне.
После проверки решения буду очень признателен, если вы оставите положительный отзыв.
Сразу после оплаты вы получите решение задачи Кепе № 5.5.3
Глава 1 - СТАТИКА, тема - 5.5: Равновесие пространственной системы параллельных сил.
Задача выполнена от руки, понятным, разборчивым почерком (сохранена в виде картинки в формате PNG) - откроется на любом ПК, телефоне.
После проверки решения буду очень признателен, если вы оставите положительный отзыв.
Изображения:
Вас могут заинтересовать:

18.04.2016
105 продаж
Решение задачи 9.4.6 из сборника Кепе О.Э.
Купить
$ 0.59

14.04.2016
83 продажи
Решение задачи 3.2.12 из сборника Кепе О.Э.
Купить
$ 0.59

13.03.2016
66 продаж
Решение задачи 4.3.5 из сборника Кепе О.Э.
Купить
$ 0.59

11.11.2016
34 продажи
Решение задачи 8.3.3 из сборника Кепе О.Е. 1989 года
Купить
$ 0.63
04.05.2014
23 продажи
Управление общественными отношениями тест ОЮИ
Купить
$ 4.3

06.11.2015
21 продажа
Решение задачи С3 Вариант 18 Диевский В.А., Малышева ИА
Купить
$ 0.63

30.05.2016
20 продаж
C4 Вариант 09 термех из решебника Яблонский А.А. 1978 г
Купить
$ 0.62

15.04.2016
13 продаж
Решение задачи 7.4.19 из сборника Кепе О.Э.
Купить
$ 0.59

21.04.2016
9 продаж
Решение задачи 22.3.8 из сборника Кепе О.Э.
Купить
$ 0.59

16.12.2016
9 продаж
Решение задачи 15.3.7 из сборника Кепе О.Е. 1989 года
Купить
$ 0.63

24.11.2016
9 продаж
Решение задачи 13.6.12 из сборника Кепе О.Е. 1989 года
Купить
$ 0.63
05.12.2014
6 продаж
Социология управления ответы на тест ОЮИ
Купить
$ 4.32

16.12.2016
7 продаж
Решение задачи 15.3.13 из сборника Кепе О.Е. 1989 года
Купить
$ 0.63

27.01.2017
3 продажи
C11 Вариант 18 термех из решебника Яблонский А.А. 1978
Купить
$ 1.15

02.05.2019
2 продажи
Уголовное право общая часть(1082)(ОЮИ)
Купить
$ 2.89
25.05.2016
1 продажа
Решение Д2-22 (Рисунок Д2.2 условие 2 С.М. Тарг 1988 г)
Купить
$ 0.62

14.04.2016
1 продажа
Задача С2 вариант 89, решебник Тарг С.М. 1983 г.
Купить
$ 1.52

31.10.2016
1 продажа
Решение задачи 16.1.34 из сборника Кепе О.Е. 1989 года
Купить
$ 0.63

11.11.2016
1 продажа
Решение задачи 7.8.1 из сборника Кепе О.Е. 1989 года
Купить
$ 0.63
10.02.2017
1 продажа
Решение К2 вар. 08, решебник теормех Тарг С.М. 1982 г.
Купить
$ 0.79
23.07.2013
1 продажа
Термех Тарг 1988 решение задачи Д5 В25 (рис. 2 усл. 5)
Купить
$ 0.8

03.04.2020
2 продажи
Решение задачи №2 из сборника №2 по Материаловедению
Купить
$ 0.49

18.04.2020
0 продаж
Ответ на вопрос №109 из контр.раб.2 по Материаловедению
Купить
$ 0.49

15.11.2018
0 продаж
Горина и Орлов по взаимной договоренности обменяли
Купить
$ 0.15

15.01.2021
0 продаж
Ответ на вопрос №79 из контр.раб.1 по Строительству ж/д
Купить
$ 0.49

01.10.2019
0 продаж
Решение или определение должен вынести судья
Купить
$ 0.21

14.01.2020
0 продаж
Глава муниципального образования издал
Купить
$ 0.21

16.06.2020
3 продажи
Решение задачи Д19-12 из сборника Яблонского А.А.
Купить
$ 0.15

13.04.2020
0 продаж
В администрацию Свердловской железной дороги поступило
Купить
$ 0.2

18.06.2021
0 продаж
ДВФУ WEBDidactor Учет и анализ (финансовый учет, управленческий учет и финансовый анализ) - 2 вопрос
Купить
$ 0.53

20.06.2021
0 продаж
ДВФУ WEBDidactor Безопасность жизнедеятельности - 2 вопроса #3208
Купить
$ 0.32

20.06.2021
0 продаж
ДВФУ WEBDidactor Основы страхования - 2 вопроса #1054
Купить
$ 0.32

21.06.2021
0 продаж
ДВФУ WEBDidactor Корпоративные финансы - 2 вопроса #1865
Купить
$ 0.53

20.06.2021
0 продаж
ДВФУ WEBDidactor Управление предприятием - 2 вопроса #945
Купить
$ 0.53

22.06.2021
0 продаж
ДВФУ WEBDidactor История предпринимательства в России - 2 вопроса #1550
Купить
$ 0.32

24.06.2021
0 продаж
ДВФУ WEBDidactor Основы налогообложения - 2 вопроса #2580
Купить
$ 0.53

25.06.2021
0 продаж
ДВФУ WEBDidactor Мировые ресурсы туризма - 2 вопроса #2901
Купить
$ 0.53

24.06.2021
0 продаж
ДВФУ WEBDidactor Стратегический менеджмент - 2 вопроса #4206
Купить
$ 0.53

23.06.2021
0 продаж
ДВФУ WEBDidactor Информационные системы в экономике - 2 вопроса #2293
Купить
$ 0.32

25.06.2021
0 продаж
ДВФУ WEBDidactor Оплата труда персонала - 2 вопроса #3430
Купить
$ 0.32

27.06.2021
0 продаж
ДВФУ WEBDidactor Основы управления персоналом - 2 вопроса #3595
Купить
$ 0.53

25.06.2021
0 продаж
ДВФУ WEBDidactor Основы социального государства - 2 вопроса #3369
Купить
$ 0.32

27.06.2021
0 продаж
ДВФУ WEBDidactor Кадровое делопроизводство - 2 вопроса #3875
Купить
$ 0.53

25.06.2021
0 продаж
ДВФУ WEBDidactor Культура торгового обслуживания - 2 вопроса #3486
Купить
$ 0.32

25.06.2021
0 продаж
ДВФУ WEBDidactor Стандартизация и контроль качества гостиничных услуг - 2 вопроса #3476
Купить
$ 0.32

28.06.2021
0 продаж
ДВФУ WEBDidactor Введение в психолого-педагогическую деятельность - 2 вопроса #4594
Купить
$ 0.53

29.06.2021
0 продаж
ДВФУ WEBDidactor Связи с общественностью в органах власти - 2 вопроса #4802
Купить
$ 0.32

29.06.2021
0 продаж
ДВФУ WEBDidactor Риторика и академическое письмо - 2 вопроса #5070
Купить
$ 0.32

29.06.2021
0 продаж
ДВФУ WEBDidactor Практикум по сурдопереводу - 2 вопроса #5430
Купить
$ 0.32

16.07.2021
0 продаж
ДВФУ WEBDidactor Бюджетная система РФ - все ответы
Купить
$ 3.18