USSR SHOP »
Магазин »
Электронные книги »
Наука и образование »
В помощь студенту » Решение Д19-15 методом Лагранжа из сборника Яблонского
Купить Решение Д19-15 методом Лагранжа из сборника Яблонского
Обновлено: 2025-10-23 20:11:44

$ 0.24
5 продаж
Всего продаж: 5
✅ Методы оплаты: 












Описание товара:
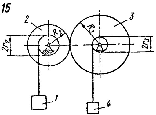
ВНИМАНИЕ! Это решение идёт как второй способ к решению Д19-15. Поэтому решение без рисунка!
Рисунок есть в поиске выше "Решение задачи Д19-15 из сборника Яблонского А.А."
Задача Д19-15_Лагранж.tif
Для заданной механической системы определить ускорения грузов и натяжения в ветвях нитей, к которым прикреплены грузы. Массами нитей пренебречь. Трение качения и силы сопротивления в подшипниках не учитывать. Система движется из состояния покоя.
Варианты механических систем показаны на рис. 198 - 200, а необходимые для решения данные приведены в табл. 55.
Блоки и катки, для которых радиусы инерции в таблице не указаны, считать сплошными однородными цилиндрами.
Рисунок есть в поиске выше "Решение задачи Д19-15 из сборника Яблонского А.А."
Задача Д19-15_Лагранж.tif
Для заданной механической системы определить ускорения грузов и натяжения в ветвях нитей, к которым прикреплены грузы. Массами нитей пренебречь. Трение качения и силы сопротивления в подшипниках не учитывать. Система движется из состояния покоя.
Варианты механических систем показаны на рис. 198 - 200, а необходимые для решения данные приведены в табл. 55.
Блоки и катки, для которых радиусы инерции в таблице не указаны, считать сплошными однородными цилиндрами.
Изображения:
Вас могут заинтересовать:
14.05.2019
70 продаж
Анализ финансовой отчетности ответы на тест ОЮИ 2 верс
Купить
$ 4.29
14.04.2016
49 продаж
Решение задачи 2.1.10 из сборника Кепе О.Э.
Купить
$ 0.73
02.11.2015
43 продажи
Решение задачи С2 Вариант 06 Диевский В.А., Малышева ИА
Купить
$ 0.79

04.07.2017
39 продаж
Решение задачи 17.1.14 из сборника Кепе О.Э.
Купить
$ 0.59

21.04.2016
33 продажи
Решение задачи 17.3.10 из сборника Кепе О.Э.
Купить
$ 0.59

21.01.2016
28 продаж
Решение задачи 2.4.20 из сборника Кепе О.Е. 1989 года
Купить
$ 0.63

23.06.2016
27 продаж
Решение задачи 8.3.11 из сборника Кепе О.Э.
Купить
$ 0.59
08.06.2017
25 продаж
Решение задачи 17.1.18 из сборника Кепе О.Э.
Купить
$ 0.73
18.04.2016
27 продаж
Решение задачи 11.2.10 из сборника Кепе О.Э.
Купить
$ 0.73
14.03.2016
19 продаж
Решение задачи Д3 (задание 2) Вариант 14 Диевский В.А.
Купить
$ 0.79

23.11.2016
19 продаж
Решение задачи 13.3.12 из сборника Кепе О.Е. 1989 года
Купить
$ 0.63
14.09.2017
18 продаж
Задача К2 Вар. 17 термех из решебника Яблонский АА 1978
Купить
$ 0.77
06.11.2015
17 продаж
Решение задачи С3 Вариант 22 Диевский В.А., Малышева ИА
Купить
$ 0.79
14.04.2016
14 продаж
Решение задачи 4.2.17 из сборника Кепе О.Э.
Купить
$ 0.73
08.06.2017
12 продаж
Решение задачи 17.1.9 из сборника Кепе О.Э.
Купить
$ 0.73

13.11.2015
11 продаж
Решение задачи К1 Вариант 22 Диевский В.А. Малышева ИА
Купить
$ 0.63

16.11.2016
8 продаж
Правовая статистика(1069)(ОЮИ)
Купить
$ 0.97

15.12.2016
6 продаж
Решение К5 В27 термех из решебника Яблонский АА 1978 г
Купить
$ 0.62

28.06.2019
1 продажа
Трудовое право МЭБИК тест 36 вопросов
Купить
$ 3.7

09.07.2019
0 продаж
Задание №2. УПБП.
Купить
$ 3.91
05.08.2013
0 продаж
Задачи Криминалистика 7-10
Купить
$ 4.94

17.01.2021
2 продажи
Финансовый менеджмент.Тест Синергия 2021г.
Купить
$ 2.93
29.04.2016
2 продажи
Решение Д1-01 (Рисунок Д1.0 условие 1 С.М. Тарг 1989 г)
Купить
$ 0.61
10.02.2017
2 продажи
Решение К2 вар. 65, решебник теормех Тарг С.М. 1982 г.
Купить
$ 0.79
02.06.2016
1 продажа
Решение Д8-45 (Рисунок Д8.4 условие 5 С.М. Тарг 1989 г)
Купить
$ 0.62
25.04.2016
1 продажа
Решение К1-33 (Рисунок К1.3 условие 3 С.М. Тарг 1989 г)
Купить
$ 0.62

05.10.2020
1 продажа
Философия.Тест Синергия 2020
Купить
$ 3.42
16.06.2023
0 продаж
Практикум по решению задач № 8
Купить
$ 0.98

19.01.2004
0 продаж
Дипломная работа "Управление ресурсами коммерческого банка" (На материалах Ощадбанка Украины).
Купить
$ 70
02.03.2021
0 продаж
Товароведение продовольственных и непродовольственных
Купить
$ 4.32

16.04.2020
0 продаж
Решение задачи №13 из сборника №6 по Материаловедению
Купить
$ 0.49

15.11.2018
1 продажа
Васильев, торговый агент фирмы, реализующей компьютеры
Купить
$ 0.18

10.12.2018
0 продаж
Научно-исследовательский институт и ООО Фабрика мебели
Купить
$ 0.16

15.11.2018
2 продажи
Завод подъемно-транспортного оборудования
Купить
$ 0.15

10.12.2018
0 продаж
Антон Эдельвейс разместил на принадлежащем ему
Купить
$ 0.16

11.12.2018
0 продаж
Лейтенант полиции Горехин и его семнадцатилетний
Купить
$ 0.2

31.10.2019
0 продаж
Чем отличаются западные политические и правовые
Купить
$ 0.19

18.06.2021
0 продаж
ДВФУ WEBDidactor Управление государственной и муниципальной собственностью - 2 вопроса #4834
Купить
$ 0.53

19.06.2021
0 продаж
ДВФУ WEBDidactor Мировая экономика и международные экономические отношения - 2 вопроса #755
Купить
$ 0.53

23.06.2021
0 продаж
ДВФУ WEBDidactor Территориальный маркетинг - 2 вопроса #4919
Купить
$ 0.32

23.06.2021
0 продаж
ДВФУ WEBDidactor Управление социальным развитием организации - 2 вопроса #2663
Купить
$ 0.32

24.06.2021
0 продаж
ДВФУ WEBDidactor Теория управления - 2 вопроса #4964
Купить
$ 0.53

27.06.2021
0 продаж
ДВФУ WEBDidactor Основы управления персоналом - 2 вопроса #3889
Купить
$ 0.32

25.06.2021
0 продаж
ДВФУ WEBDidactor Технология гостиничной деятельности - 2 вопроса #3334
Купить
$ 0.53

28.06.2021
0 продаж
ДВФУ WEBDidactor Основы государственного управления в зарубежных странах - 2 вопроса #4073
Купить
$ 0.53

28.06.2021
0 продаж
ДВФУ WEBDidactor Возрастная анатомия и физиология - 2 вопроса #4643
Купить
$ 0.32

29.06.2021
0 продаж
ДВФУ WEBDidactor Риторика и академическое письмо - 2 вопроса #5072
Купить
$ 0.32

28.06.2021
0 продаж
ДВФУ WEBDidactor Инновационный менеджмент - 2 вопроса #4271
Купить
$ 0.32

16.07.2021
0 продаж
ДВФУ WEBDidactor Маркетинг - все ответы
Купить
$ 5

29.06.2021
0 продаж
ДВФУ WEBDidactor Основы коммерческой деятельности - 2 вопроса #5256
Купить
$ 0.32