USSR SHOP »
Магазин »
Электронные книги »
Наука и образование »
В помощь студенту » Решение задачи Д19-06 из сборника Яблонского А.А.
Купить Решение задачи Д19-06 из сборника Яблонского А.А.
Обновлено: 2025-10-25 11:05:59
$ 0.15
2 продажи
Всего продаж: 2
✅ Методы оплаты: 












Описание товара:
Задача Д19-06.tif
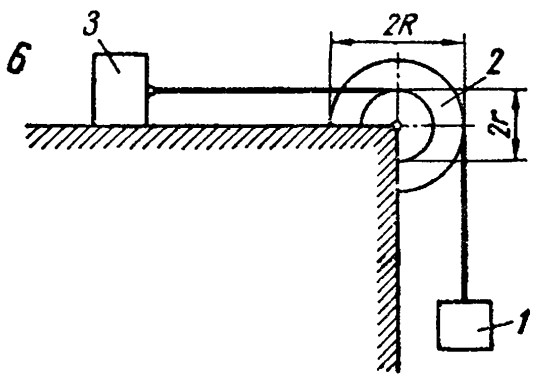
Для заданной механической системы определить ускорения грузов и натяжения в ветвях нитей, к которым прикреплены грузы. Массами нитей пренебречь. Трение качения и силы сопротивления в подшипниках не учитывать. Система движется из состояния покоя.
Варианты механических систем показаны на рис. 198 - 200, а необходимые для решения данные приведены в табл. 55.
Блоки и катки, для которых радиусы инерции в таблице не указаны, считать сплошными однородными цилиндрами.
Для заданной механической системы определить ускорения грузов и натяжения в ветвях нитей, к которым прикреплены грузы. Массами нитей пренебречь. Трение качения и силы сопротивления в подшипниках не учитывать. Система движется из состояния покоя.
Варианты механических систем показаны на рис. 198 - 200, а необходимые для решения данные приведены в табл. 55.
Блоки и катки, для которых радиусы инерции в таблице не указаны, считать сплошными однородными цилиндрами.
Изображения:
Вас могут заинтересовать:
06.01.2014
111 продаж
Наследственное право ответы на тест ОЮИ (2 версии)
Купить
$ 4.32
15.03.2013
72 продажи
Предпринимательское право , ответы на тест ОЮИ
Купить
$ 4.32
11.12.2016
66 продаж
Решение задачи 15.7.10 из сборника Кепе О.Е. 1989 года
Купить
$ 0.63
18.12.2013
44 продажи
Социальная педагогика ответы на тест ОЮИ
Купить
$ 4.32
15.03.2017
28 продаж
Решение задачи К3 Вариант 04 Диевский В.А. Малышева ИА
Купить
$ 0.63
17.11.2010
17 продаж
Итоговый экзамен РФЭИ Философия 100 вопросов
Купить
$ 5
18.04.2016
21 продажа
Решение задачи 11.2.9 из сборника Кепе О.Э.
Купить
$ 0.59
15.04.2016
17 продаж
Решение задачи 7.5.5 из сборника Кепе О.Э.
Купить
$ 0.74
23.06.2014
14 продаж
Русский язык и культура речи ответы Техникум ОЮИ
Купить
$ 4.32
14.11.2016
12 продаж
Математика(БАЗОВЫЙ ТЕХНИКУМ)(ОЮИ)
Купить
$ 0.97
01.08.2016
6 продаж
ДВГГТК Экология (Экологические основы природопольз)
Купить
$ 4.31
11.03.2012
6 продаж
Тест «Международные экономические отношения» (ИМЭИ)
Купить
$ 1.46
14.12.2017
11 продаж
Диевский В.А. - Решение задачи Д6 вариант 21 (Д6-21)
Купить
$ 0.73
11.01.2016
7 продаж
Решение задачи Д7 (задание 1) Вариант 20 Диевский В.А.
Купить
$ 0.79
21.04.2016
5 продаж
Решение задачи 16.1.33 из сборника Кепе О.Э.
Купить
$ 0.59
25.05.2017
9 продаж
Диевский В.А. - Решение задачи Д5 вариант 27 (Д5-27)
Купить
$ 0.74
26.04.2016
3 продажи
Решение К4-40 (Рисунок К4.4 условие 0 С.М. Тарг 1989 г)
Купить
$ 0.62
25.11.2016
3 продажи
Решение задачи 14.4.5 из сборника Кепе О.Е. 1989 года
Купить
$ 0.79
14.12.2016
3 продажи
Задача К2 Вар. 29 термех из решебника Яблонский АА 1978
Купить
$ 0.62
14.10.2023
1 продажа
Дизайн-мышление в управлении проектами.Итоговый тест
Купить
$ 2.45
31.05.2016
1 продажа
Решение задачи К4 В 01, решебник термех Тарг С.М. 1982
Купить
$ 0.79
13.04.2016
1 продажа
Решение Д5 Вар. 99, решебник теормех Тарг С.М. 1983 г.
Купить
$ 0.62
31.05.2016
1 продажа
C6 Вариант 21 термех из решебника Яблонский А.А. 1978 г
Купить
$ 1.03
13.04.2021
1 продажа
Решение задачи Д3 вариант 4 задание 2 - Диевский В.А.
Купить
$ 0.74
14.10.2019
0 продаж
Укажите, в каких из нижеперечисленных случаев
Купить
$ 0.21
19.11.2020
0 продаж
Ответ на вопрос №32 сб.4 Технология геодезических работ
Купить
$ 0.49
30.09.2019
0 продаж
В судебном заседании адвокат — представитель истца
Купить
$ 0.21
15.11.2018
0 продаж
ЗАО «Бытсервис» по договору подряда с гражданином
Купить
$ 0.18
29.03.2020
0 продаж
Приведите примеры видов гипотез правовых норм
Купить
$ 0.2
16.06.2020
4 продажи
Решение задачи Д19-18 из сборника Яблонского А.А.
Купить
$ 0.15
18.06.2021
0 продаж
ДВФУ WEBDidactor Аудит - 2 вопроса #255
Купить
$ 0.32
18.06.2021
0 продаж
ДВФУ WEBDidactor Учет и анализ (финансовый учет, управленческий учет и финансовый анализ) - 2 вопрос
Купить
$ 0.53
20.06.2021
0 продаж
ДВФУ WEBDidactor Мировая экономика и международные экономические отношения - 2 вопроса #857
Купить
$ 0.53
19.06.2021
0 продаж
ДВФУ WEBDidactor Международные валютно-кредитные отношения - 2 вопроса #1676
Купить
$ 0.53
20.06.2021
0 продаж
ДВФУ WEBDidactor Внутрифирменное бюджетирование - 2 вопроса #1119
Купить
$ 0.53
21.06.2021
0 продаж
ДВФУ WEBDidactor Основы маркетинга - 2 вопроса #1312
Купить
$ 0.32
20.06.2021
0 продаж
ДВФУ WEBDidactor Методы принятия управленческих решений - 2 вопроса #1953
Купить
$ 0.53
22.06.2021
0 продаж
ДВФУ WEBDidactor Технология и организация внутреннего туризма - 2 вопроса #2930
Купить
$ 0.53
22.06.2021
0 продаж
ДВФУ WEBDidactor Этика деловых отношений - 2 вопроса #2092
Купить
$ 0.53
23.06.2021
0 продаж
ДВФУ WEBDidactor Математическое и имитационное моделирование - 2 вопроса #2321
Купить
$ 0.53
25.06.2021
0 продаж
ДВФУ WEBDidactor Основы социального государства и гражданского общества - 2 вопроса #3099
Купить
$ 0.32
27.06.2021
0 продаж
ДВФУ WEBDidactor Технология работы службы человеческих ресурсов - 2 вопроса #3801
Купить
$ 0.53
25.06.2021
0 продаж
ДВФУ WEBDidactor Компьютерное обеспечение расчетов по труду - 2 вопроса #3003
Купить
$ 0.32
27.06.2021
0 продаж
ДВФУ WEBDidactor Основы управления персоналом - 2 вопроса #3715
Купить
$ 0.53
29.06.2021
0 продаж
ДВФУ WEBDidactor Территориальное общественное самоуправление - 2 вопроса #4819
Купить
$ 0.53
28.06.2021
0 продаж
ДВФУ WEBDidactor Основы государственного управления в зарубежных странах - 2 вопроса #4075
Купить
$ 0.32
29.06.2021
0 продаж
ДВФУ WEBDidactor Система государственного управления - 2 вопроса #4879
Купить
$ 0.53
29.06.2021
0 продаж
ДВФУ WEBDidactor Организация и управление системами общего, професионального и дополнительного образ
Купить
$ 0.53
29.06.2021
0 продаж
ДВФУ WEBDidactor Теория и практика коммуникации: Риторика и академическое письмо - 2 вопроса #5062
Купить
$ 0.32
16.07.2021
0 продаж
ДВФУ WEBDidactor Бухгалтерский учет и ан - все ответы
Купить
$ 1.91