USSR SHOP »
Магазин »
Электронные книги »
Наука и образование »
В помощь студенту » Решение Д19-17 методом Лагранжа из сборника Яблонского
Купить Решение Д19-17 методом Лагранжа из сборника Яблонского
Обновлено: 2025-10-23 21:02:53

$ 0.25
3 продажи
Всего продаж: 3
✅ Методы оплаты: 












Описание товара:
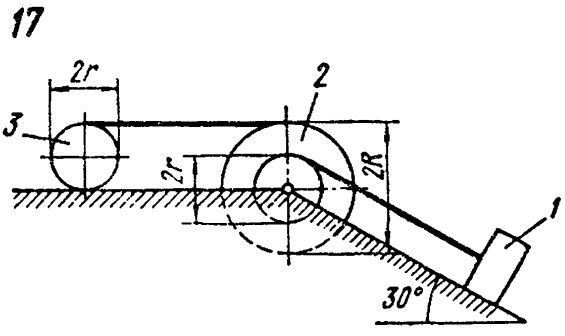
ВНИМАНИЕ! Это решение идёт как второй способ к решению Д19-17. Поэтому решение без рисунка!
Рисунок есть в поиске выше "Решение задачи Д19-17 из сборника Яблонского А.А."
Задача Д19-17_Лагранж.tif
Для заданной механической системы определить ускорения грузов и натяжения в ветвях нитей, к которым прикреплены грузы. Массами нитей пренебречь. Трение качения и силы сопротивления в подшипниках не учитывать. Система движется из состояния покоя.
Варианты механических систем показаны на рис. 198 - 200, а необходимые для решения данные приведены в табл. 55.
Блоки и катки, для которых радиусы инерции в таблице не указаны, считать сплошными однородными цилиндрами.
Рисунок есть в поиске выше "Решение задачи Д19-17 из сборника Яблонского А.А."
Задача Д19-17_Лагранж.tif
Для заданной механической системы определить ускорения грузов и натяжения в ветвях нитей, к которым прикреплены грузы. Массами нитей пренебречь. Трение качения и силы сопротивления в подшипниках не учитывать. Система движется из состояния покоя.
Варианты механических систем показаны на рис. 198 - 200, а необходимые для решения данные приведены в табл. 55.
Блоки и катки, для которых радиусы инерции в таблице не указаны, считать сплошными однородными цилиндрами.
Изображения:
Вас могут заинтересовать:

14.04.2016
103 продажи
Решение задачи 4.2.4 из сборника Кепе О.Э.
Купить
$ 0.59

20.04.2016
72 продажи
Решение задачи 14.3.7 из сборника Кепе О.Э.
Купить
$ 0.59
05.09.2018
60 продаж
Решение самостоятельной работы 1 вариант 3 Сетков В.И.
Купить
$ 1.22

20.11.2015
43 продажи
Решение задачи К4 Вариант 01 Диевский В.А. Малышева ИА
Купить
$ 0.63
02.12.2019
40 продаж
Психология ответы на тест ОЮИ
Купить
$ 4.32

13.01.2014
6 продаж
Тест по ОСЦБ Оценка стоимости ценных бумаг НОВЫЙ
Купить
$ 4

08.11.2016
10 продаж
Решение задачи 2.4.25 из сборника Кепе О.Е. 1989 года
Купить
$ 0.63

15.04.2016
9 продаж
Решение задачи 7.3.2 из сборника Кепе О.Э.
Купить
$ 0.59

04.05.2017
8 продаж
Решение задачи 13.6.17 из сборника Кепе О.Э.
Купить
$ 0.59

25.11.2016
7 продаж
Решение задачи 14.2.6 из сборника Кепе О.Е. 1989 года
Купить
$ 0.63

07.04.2017
2 продажи
Практическое задание №3. Педагогика.
Купить
$ 2.93

22.03.2023
1 продажа
Кадровый документооборот тест Синергия ответы
Купить
$ 2.45
26.04.2016
4 продажи
Решение К4-77 (Рисунок К4.7 условие 7 С.М. Тарг 1989 г)
Купить
$ 0.62
24.11.2016
4 продажи
Решение задачи 13.5.14 из сборника Кепе О.Е. 1989 года
Купить
$ 0.79

19.11.2016
2 продажи
Налоги и налогообложение. Лялина Ж.И.(ДВФУ)
Купить
$ 0.97
12.04.2021
1 продажа
Решение задачи С5 вариант 21 (С5-21) - Диевский В.А.
Купить
$ 0.73
04.09.2020
0 продаж
Управление контентом.Тест Синергия 2020
Купить
$ 4.82
25.05.2021
1 продажа
Решение самостоятельной работы 3 вариант 2 Сетков В.И.
Купить
$ 1.22

08.06.2025
0 продаж
Психология труда и инженерная психология
Купить
$ 3.79
09.11.2020
0 продаж
Безопасность сетей и каналов передачи данных.Тест
Купить
$ 4.29
19.07.2013
4 продажи
Решение задачи К3 Вариант 41 (рис. 4 усл. 1) Тарг 1988
Купить
$ 0.8

01.02.2019
0 продаж
Решение задачи №20 Экономика отрасли
Купить
$ 0.61
19.07.2013
2 продажи
Решение задачи К3 Вариант 06 (рис. 0 усл. 6) Тарг 1988
Купить
$ 0.8

03.04.2020
0 продаж
Решение задачи №1 из сборника №2 по Материаловедению
Купить
$ 0.49

11.04.2021
0 продаж
Ответ на вопрос №143 из контр.раб.1 по Строительству жд
Купить
$ 0.61

31.10.2019
0 продаж
Составить сравнительную таблицу норм
Купить
$ 0.23

16.04.2020
0 продаж
Индивидуальный предприниматель Серин избил жену
Купить
$ 0.2
16.06.2020
1 продажа
Решение Д19-19 методом Лагранжа из сборника Яблонского
Купить
$ 0.31

18.06.2021
0 продаж
ДВФУ WEBDidactor Учет и анализ (финансовый учет, управленческий учет и финансовый анализ) - 2 вопрос
Купить
$ 0.53

18.06.2021
0 продаж
ДВФУ WEBDidactor Аналитические процедуры в аудите - 2 вопроса #262
Купить
$ 0.53

20.06.2021
0 продаж
ДВФУ WEBDidactor Внутрифирменное бюджетирование - 2 вопроса #1137
Купить
$ 0.53

20.06.2021
0 продаж
ДВФУ WEBDidactor Микроэкономика - 2 вопроса #4473
Купить
$ 0.53

21.06.2021
0 продаж
ДВФУ WEBDidactor Информационные технологии в профессиональной деятельности - 2 вопроса #5463
Купить
$ 0.32

20.06.2021
0 продаж
ДВФУ WEBDidactor Управление предприятием - 2 вопроса #949
Купить
$ 0.53

20.06.2021
0 продаж
ДВФУ WEBDidactor Экономика Азиатско-Тихоокеанского региона - 2 вопроса #1026
Купить
$ 0.53

21.06.2021
0 продаж
ДВФУ WEBDidactor Управление ассортиментной политикой - 2 вопроса #1280
Купить
$ 0.32

21.06.2021
0 продаж
ДВФУ WEBDidactor Информационные технологии в профессиональной деятельности - 2 вопроса #5478
Купить
$ 0.32

21.06.2021
0 продаж
ДВФУ WEBDidactor Налоговые расчеты в бухгалтерском деле - 2 вопроса #5442
Купить
$ 0.32

24.06.2021
0 продаж
ДВФУ WEBDidactor Введение в дисциплинарные картины мира - 2 вопроса #2777
Купить
$ 0.32

25.06.2021
0 продаж
ДВФУ WEBDidactor Мировые ресурсы туризма - 2 вопроса #2848
Купить
$ 0.53

23.06.2021
0 продаж
ДВФУ WEBDidactor Информационные системы в экономике - 2 вопроса #2292
Купить
$ 0.32

23.06.2021
0 продаж
ДВФУ WEBDidactor Математическое и имитационное моделирование - 2 вопроса #2226
Купить
$ 0.53

24.06.2021
0 продаж
ДВФУ WEBDidactor Основы теории управления - 2 вопроса #3957
Купить
$ 0.53

24.06.2021
0 продаж
ДВФУ WEBDidactor Технологии социальной работы - 2 вопроса #2372
Купить
$ 0.53

27.06.2021
0 продаж
ДВФУ WEBDidactor Основы управления персоналом - 2 вопроса #3601
Купить
$ 0.53

27.06.2021
0 продаж
ДВФУ WEBDidactor Компетентностный подход в управлении персоналом - 2 вопроса #3547
Купить
$ 0.32

27.06.2021
0 продаж
ДВФУ WEBDidactor Основы управления персоналом - 2 вопроса #3607
Купить
$ 0.53

27.06.2021
0 продаж
ДВФУ WEBDidactor Товароведение - 2 вопроса #5205
Купить
$ 0.53

28.06.2021
0 продаж
ДВФУ WEBDidactor Основы государственного управления в зарубежных странах - 2 вопроса #4086
Купить
$ 0.53

28.06.2021
0 продаж
ДВФУ WEBDidactor Теоретические основы товароведения - 2 вопроса #5264
Купить
$ 0.32