USSR SHOP »
Магазин »
Электронные книги »
Наука и образование »
В помощь студенту » Решение задачи 2.4.2 из сборника Кепе О.Э.
Купить Решение задачи 2.4.2 из сборника Кепе О.Э.
Обновлено: 2025-10-23 05:50:12
$ 0.73
141 продажа
Всего продаж: 141
✅ Методы оплаты: 












Описание товара:
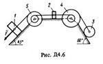
2.4.2
Определить реакцию опоры D если силы F1 = 84,6Н, F2 = 208Н, размеры АВ = 1 м, BС=3м,CD = 2м. (Ответ 130)
Определить реакцию опоры D если силы F1 = 84,6Н, F2 = 208Н, размеры АВ = 1 м, BС=3м,CD = 2м. (Ответ 130)
Изображения:
Вас могут заинтересовать:
29.12.2013
120 продаж
Конституционное право ответы на тесты ОЮИ (3 версии)
Купить
$ 4.32
14.04.2016
46 продаж
Решение задачи 2.3.11 из сборника Кепе О.Э.
Купить
$ 0.74

08.06.2017
43 продажи
Решение задачи 19.3.19 из сборника Кепе О.Э.
Купить
$ 0.59

02.11.2015
40 продаж
Решение задачи С2 Вариант 07 Диевский В.А., Малышева ИА
Купить
$ 0.63

09.10.2017
15 продаж
Решение задачи 16.2.13 из сборника Кепе О.Э.
Купить
$ 0.59

27.01.2017
13 продаж
Решение задачи 13.5.23 из сборника Кепе О.Э.
Купить
$ 0.59
08.12.2016
12 продаж
Решение 19.3.3 из сборника (решебника) Кепе О.Е. 1989
Купить
$ 0.79
25.04.2017
11 продаж
РФЭТ Корпоративная культура Контрольная 3 задания
Купить
$ 1.95

08.07.2016
6 продаж
Новая стратегия — новая организационная структура корпо
Купить
$ 1.95

10.11.2016
7 продаж
Решение задачи 5.7.5 из сборника Кепе О.Е. 1989 года
Купить
$ 0.63

10.11.2016
7 продаж
Решение задачи 5.1.10 из сборника Кепе О.Е. 1989 года
Купить
$ 0.63

01.11.2018
0 продаж
Ответы для экзамена по Правилам техники безопасности
Купить
$ 1

23.12.2016
6 продаж
Задача К3 Вар. 21 термех из решебника Яблонский АА 1978
Купить
$ 0.62

31.10.2016
4 продажи
Решение задачи 16.3.3 из сборника Кепе О.Е. 1989 года
Купить
$ 0.78

20.09.2018
3 продажи
Решение задачи 10.1.10 из сборника Кепе О.Э.
Купить
$ 0.97
26.04.2016
2 продажи
Решение К2-81 (Рисунок К2.8 условие 1 С.М. Тарг 1989 г)
Купить
$ 0.62

08.09.2023
2 продажи
Общая психология ответы на Компетентностный тест
Купить
$ 3.69
12.12.2016
2 продажи
Решение 23.2.9 из сборника (решебника) Кепе О.Е. 1989
Купить
$ 0.99

28.02.2024
2 продажи
Теория менеджмента
Купить
$ 2.45

25.11.2016
2 продажи
Решение задачи 14.2.26 из сборника Кепе О.Е. 1989 года
Купить
$ 0.63

09.10.2020
1 продажа
Решение самостоятельной работы 2 вариант 32 Сетков В.И.
Купить
$ 0.98

03.06.2016
1 продажа
Решение Д10-52 (Рисунок Д10.5 условие 2 С.М Тарг 1989г)
Купить
$ 0.49
25.04.2016
2 продажи
Решение С4-74 (Рисунок С4.7 условие 4 С.М. Тарг 1989 г)
Купить
$ 0.62
31.05.2016
1 продажа
Решение К3 вар. 08, решебник термех Тарг С.М. 1982 г.
Купить
$ 0.79
12.04.2021
1 продажа
Решение задачи К4 вариант 17 (К4-17) - Диевский В.А.
Купить
$ 0.74
13.04.2021
1 продажа
Решение задачи Д3 вариант 3 задание 2 - Диевский В.А.
Купить
$ 0.74

08.04.2021
1 продажа
Решение задачи С2 вариант 30 (С2-30) - Диевский В.А.
Купить
$ 0.59

04.02.2015
0 продаж
ИФРУ 05-3 Тест-СД.13 Ценообразование ИС 2014 год
Купить
$ 11.72

29.12.2023
0 продаж
Техническая термодинамика
Купить
$ 2.45

29.10.2019
0 продаж
Абсолютная монархия во Франции, Англии и Германии
Купить
$ 0.19

29.10.2019
0 продаж
Гражданин Рублев обратился в суд с исковым требованием
Купить
$ 0.19

30.03.2020
0 продаж
Покажите роль и место правовых отношений
Купить
$ 0.2

13.04.2020
0 продаж
Бухгалтер Тараканова по просьбе подруги
Купить
$ 0.2

13.04.2016
1 продажа
Задача Д4 Вариант 62, решебник термех С.М. Тарг 1983 г
Купить
$ 0.49

19.06.2021
0 продаж
ДВФУ WEBDidactor Административное право - 2 вопроса #678
Купить
$ 0.32

19.06.2021
0 продаж
ДВФУ WEBDidactor Правоведение - 2 вопроса #601
Купить
$ 0.32

18.06.2021
0 продаж
ДВФУ WEBDidactor Бухгалтерский учет - 2 вопроса #187
Купить
$ 0.32

21.06.2021
0 продаж
ДВФУ WEBDidactor Международный маркетинг - 2 вопроса #1278
Купить
$ 0.53

19.06.2021
0 продаж
ДВФУ WEBDidactor Логистика - 2 вопроса #5115
Купить
$ 0.53

22.06.2021
0 продаж
ДВФУ WEBDidactor Государственная и муниципальная служба - 2 вопроса #1744
Купить
$ 0.32

22.06.2021
0 продаж
ДВФУ WEBDidactor Документационное обеспечение государственного и муниципального управления - 2 вопро
Купить
$ 0.53

22.06.2021
0 продаж
ДВФУ WEBDidactor Экономика фирмы - 2 вопроса #1622
Купить
$ 0.53

28.06.2021
0 продаж
ДВФУ WEBDidactor Операционный менеджмент - 2 вопроса #4319
Купить
$ 0.32

29.06.2021
0 продаж
ДВФУ WEBDidactor Территориальное общественное самоуправление - 2 вопроса #4817
Купить
$ 0.53

28.06.2021
0 продаж
ДВФУ WEBDidactor Инновационный менеджмент - 2 вопроса #4233
Купить
$ 0.32

28.06.2021
0 продаж
ДВФУ WEBDidactor Гуманитарный модуль: Основы менеджмента - 2 вопроса #4238
Купить
$ 0.32

29.06.2021
0 продаж
ДВФУ WEBDidactor Теория государственного и муниципального управления - 2 вопроса #4864
Купить
$ 0.53

28.06.2021
0 продаж
ДВФУ WEBDidactor Основы менеджмента - 2 вопроса #4250
Купить
$ 0.32

30.06.2021
0 продаж
ДВФУ WEBDidactor Учет затрат, калькулирование и бюджетирование в отдельных отраслях производственной
Купить
$ 0.53

16.07.2021
0 продаж
ДВФУ WEBDidactor Управленческий анализ в - все ответы
Купить
$ 1.27
2 отзыва