USSR SHOP »
Магазин » Задание К1 вариант 79, решебник Тарг С.М. 1983 года
Купить Задание К1 вариант 79, решебник Тарг С.М. 1983 года
Всего продаж: 0
✅ Методы оплаты: 










Описание товара:
Решение задания К1 Вариант 79 из решебника по термеху Тарга С.М. 1983 года.
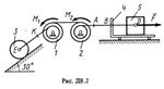
ПРОВЕРЬТЕ условие к задаче К1 (Стр. 18-20 по методичке Тарг С.М. 1983):
Точка B движется в плоскости xy (рис. К1.0-К1.9, табл. К1; траектория точки на рисунках показана условно). Закон движения точки задан уравнениями: x = f1(t), y = f2(t), где x и y выражены в сантиметрах, t – в секундах.
Найти уравнение траектории; для момента времени t1 = 1 с определить скорость и ускорение точки, а также ее касательное ускорение и радиус кривизны в соответствующей точке траектории.
Зависимость x = f1(t) указана непосредственно на рисунках, а зависимость y = f2(t) дана в табл. К1 (для рис. 0-2 в столбце 2, для рис. 3-6 в столбце 3, для рис. 7-9 в столбце 4).
После оплаты Вы получите решение задачи К1 вариант 79 по теормеху из решебника С.М. Тарг 1983 года. Решение сделано по методическим указаниям и контрольным заданиям для студентов-заочников теплоэнергетических, горных, металлургических,электро-приборостроительных, автоматизации и технологических специальностей ВУЗов.
Решение оформлено в формате word.
Буду очень благодарен, если после получения работы Вы вернетесь на сайт и оставите положительный отзыв (отзыв можно оставить в любой момент перейдя по уникальной ссылке, полученной после оплаты). Это поможет сделать сервис лучше.
Заранее спасибо.
ПРОВЕРЬТЕ условие к задаче К1 (Стр. 18-20 по методичке Тарг С.М. 1983):
Точка B движется в плоскости xy (рис. К1.0-К1.9, табл. К1; траектория точки на рисунках показана условно). Закон движения точки задан уравнениями: x = f1(t), y = f2(t), где x и y выражены в сантиметрах, t – в секундах.
Найти уравнение траектории; для момента времени t1 = 1 с определить скорость и ускорение точки, а также ее касательное ускорение и радиус кривизны в соответствующей точке траектории.
Зависимость x = f1(t) указана непосредственно на рисунках, а зависимость y = f2(t) дана в табл. К1 (для рис. 0-2 в столбце 2, для рис. 3-6 в столбце 3, для рис. 7-9 в столбце 4).
После оплаты Вы получите решение задачи К1 вариант 79 по теормеху из решебника С.М. Тарг 1983 года. Решение сделано по методическим указаниям и контрольным заданиям для студентов-заочников теплоэнергетических, горных, металлургических,электро-приборостроительных, автоматизации и технологических специальностей ВУЗов.
Решение оформлено в формате word.
Буду очень благодарен, если после получения работы Вы вернетесь на сайт и оставите положительный отзыв (отзыв можно оставить в любой момент перейдя по уникальной ссылке, полученной после оплаты). Это поможет сделать сервис лучше.
Заранее спасибо.