USSR SHOP »
Магазин » Решение Д6 В68, решебник термех Тарг С.М. 1983 года
Купить Решение Д6 В68, решебник термех Тарг С.М. 1983 года
Всего продаж: 0
✅ Методы оплаты: 











Описание товара:
Решение задачи Д6 Вариант 68 из решебника Тарг С.М. 1983 года - курс теоретической механики.
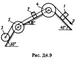
УСЛОВИЕ К ЗАДАЧЕ Д6 (Стр. 50-52 в методичке Тарг С.М. 1983г.):
Механизм, расположенный в горизонтальной плоскости, находится в равновесии под действием приложенных сил: положение равновесия определяется углами α, β, γ, φ, θ (рис. Д6.0 — Д6.9, табл. Д6).
Длины стержней механизма (кривошипов или коромысел) равны: l1 = 0,4 м, l4 = 1,0 м (размеры l2 и l3 произвольны); точка E на рис. 2 — 6 находится в середине соответствующего стержня.
На механизм действуют: на рис. 0—2 — сила F, приложенная к ползуну D, и пара сил с моментом М, приложенная к стержню 1; на рис. 3—9 — пары сил с моментами М1 и М2, приложенные к стержням 1 и 4.
Система уравновешивается параллельной Вb силой Q, приложенной к ползуну В. Определить, чему равна и в какую сторону направлена эта сила.
ВНИМАНИЕ! Готового решения задачи пока нет. В течении 1-2 дней с момента оплаты Вы получите качественное решение задания Д6 Вариант 68 по теоретической механике из уникального решебника С.М. Тарг 1983 года.
Решение задания выполнено по методическим указаниям и контрольным заданиям по термеху для студентов-заочников теплоэнергетических, горных, металлургических, электро-приборостроительных, автоматизации и технологических специальностей ВУЗов.
Решение оформлено в формате word/pdf/ реже рукописное в формате jpg или gif при необходимости уточните.
Буду очень благодарен, если после скачивания работы Вы оставите положительный отзыв. Это поможет сделать сервис лучше.
Заранее спасибо.
УСЛОВИЕ К ЗАДАЧЕ Д6 (Стр. 50-52 в методичке Тарг С.М. 1983г.):
Механизм, расположенный в горизонтальной плоскости, находится в равновесии под действием приложенных сил: положение равновесия определяется углами α, β, γ, φ, θ (рис. Д6.0 — Д6.9, табл. Д6).
Длины стержней механизма (кривошипов или коромысел) равны: l1 = 0,4 м, l4 = 1,0 м (размеры l2 и l3 произвольны); точка E на рис. 2 — 6 находится в середине соответствующего стержня.
На механизм действуют: на рис. 0—2 — сила F, приложенная к ползуну D, и пара сил с моментом М, приложенная к стержню 1; на рис. 3—9 — пары сил с моментами М1 и М2, приложенные к стержням 1 и 4.
Система уравновешивается параллельной Вb силой Q, приложенной к ползуну В. Определить, чему равна и в какую сторону направлена эта сила.
ВНИМАНИЕ! Готового решения задачи пока нет. В течении 1-2 дней с момента оплаты Вы получите качественное решение задания Д6 Вариант 68 по теоретической механике из уникального решебника С.М. Тарг 1983 года.
Решение задания выполнено по методическим указаниям и контрольным заданиям по термеху для студентов-заочников теплоэнергетических, горных, металлургических, электро-приборостроительных, автоматизации и технологических специальностей ВУЗов.
Решение оформлено в формате word/pdf/ реже рукописное в формате jpg или gif при необходимости уточните.
Буду очень благодарен, если после скачивания работы Вы оставите положительный отзыв. Это поможет сделать сервис лучше.
Заранее спасибо.