USSR SHOP »
Магазин » Задача Д4 Вариант 94, решебник термех С.М. Тарг 1983 г
Купить Задача Д4 Вариант 94, решебник термех С.М. Тарг 1983 г
Всего продаж: 1
✅ Методы оплаты: 










Описание товара:
Готовое решение задачи Д4 Вариант 94 из решебника по теоретической механике (термех) задачника Тарг С.М. 1983 года.
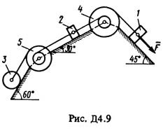
Условие задачи Д4 (Стр. 43-46 методички Тарг С.М. 1983):
Механическая система состоит из грузов 1 и 2 (коэффициент трения грузов о плоскость f = 0,1), цилиндрического сплошного однородного катка 3 и ступенчатых шкивов 4 и 5 с радиусами ступеней R4 = 0,3 м, r4 = 0,1 м, R5 = 0,2 м, r5 = 0,1 м (массу каждого шкива считать равномерно распределенной по его внешнему ободу) (рис. Д4.0-Д4.9, табл. Д4). Тела системы соединены друг с другом нитями, намотанными на шкивы; участки нитей параллельны соответствующим плоскостям.
Под действием силы F = f(x), зависящей от перемещения точки приложения силы, система приходит в движение из состояния покоя. При движении системы на шкивы 4 и 5 действуют постоянные моменты сил сопротивлений, равные соответственно M4 и M5.
Определить значение искомой величины в тот момент времени, когда перемещение точки приложения силы F равно s1.
Моментально после оплаты Вы получите ссылку на zip-архив с решением задачи Д4 Вар. 94 по теоретической механике из решебника Тарг С.М. 1983 года для студентов-заочников.
Задача выполнена по методическим указаниям и контрольным заданиям для студентов-заочников теплоэнергетических, горных, металлургических, электро-приборостроительных, автоматизации и технологических специальностей ВУЗов.
Решение оформлено в формате WORD.
Пожалуйста оставьте положительный отзыв после проверки решения. Отзыв можно оставить в любой момент, перейдя по полученной ссылке.
Заранее спасибо.
Условие задачи Д4 (Стр. 43-46 методички Тарг С.М. 1983):
Механическая система состоит из грузов 1 и 2 (коэффициент трения грузов о плоскость f = 0,1), цилиндрического сплошного однородного катка 3 и ступенчатых шкивов 4 и 5 с радиусами ступеней R4 = 0,3 м, r4 = 0,1 м, R5 = 0,2 м, r5 = 0,1 м (массу каждого шкива считать равномерно распределенной по его внешнему ободу) (рис. Д4.0-Д4.9, табл. Д4). Тела системы соединены друг с другом нитями, намотанными на шкивы; участки нитей параллельны соответствующим плоскостям.
Под действием силы F = f(x), зависящей от перемещения точки приложения силы, система приходит в движение из состояния покоя. При движении системы на шкивы 4 и 5 действуют постоянные моменты сил сопротивлений, равные соответственно M4 и M5.
Определить значение искомой величины в тот момент времени, когда перемещение точки приложения силы F равно s1.
Моментально после оплаты Вы получите ссылку на zip-архив с решением задачи Д4 Вар. 94 по теоретической механике из решебника Тарг С.М. 1983 года для студентов-заочников.
Задача выполнена по методическим указаниям и контрольным заданиям для студентов-заочников теплоэнергетических, горных, металлургических, электро-приборостроительных, автоматизации и технологических специальностей ВУЗов.
Решение оформлено в формате WORD.
Пожалуйста оставьте положительный отзыв после проверки решения. Отзыв можно оставить в любой момент, перейдя по полученной ссылке.
Заранее спасибо.