USSR SHOP »
Магазин » Решение Д9 Вар. 90, решебник термех Тарг С.М. 1983 г.
Купить Решение Д9 Вар. 90, решебник термех Тарг С.М. 1983 г.
Всего продаж: 0
✅ Методы оплаты: 










Описание товара:
Решение к задаче Д9 Вариант 90 из решебника по теоретической механике методички Тарг С.М. 1983 года.
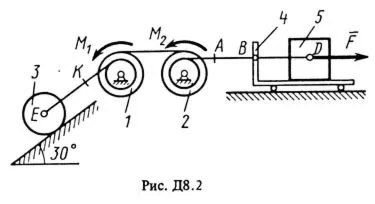
Условие задания Д9 (Стр. 60-63 задачник Тарг С.М. 1983):
Механическая система состоит из ступенчатых шкивов 1 и2 весом P1 и P2 с радиусами ступеней R1 = R, r1 = 0,4R; R2 = R, r3 = 0,8R (массу каждого шкива считать равномерно распределенной по его внешнему ободу); грузов 3, 4 и сплошного однородного цилиндрического катка 5 весом P3, P4, P5 соответственно (рис. Д9.0-Д9.9 табл. Д9). Тела системы соединены нитями, намотанными на шкивы; участки нитей параллельны соответствующим плоскостям. Грузы Скользят по плоскостям без трения, а катки катяться без скольжения.
Кроме сил тяжести на одно из тел системы действует постоянная сила F, а на шкивы 1 и 2 при их вращении действуют постоянные моменты сил сопротивления, равные соответственно M1 и M2.
Составить для данной системы уравнение Лагранжа и определить из него величину, указанную в таблице в столбце «Найти», где обозначено: ε1, ε2 – угловые ускорения шкивов 1 и 2; а3, а4, аС5 – ускорения грузов 3, 4 и центра масс катка 5 соответственно. Когда в задаче надо определить ε1, ε2, считать R = 0,25 м.
Тот из грузов 3, 4 вес которого равен нулю, на чертеже не изображать. Шкивы 1 и 2 всегда входят в систему.
Задача Д9 - на применение к изучению движения системы уравнения Лагранжа.
После оплаты Вы получите ссылку на zip-архив с решением задачи Д9 Вариант 90 по теоретической механике из решебник Тарг С.М. 1983 г. для заочников.
Задача сделана по методичке для студентов-заочников теплоэнергетических, горных, металлургических, электро-приборостроительных, автоматизации и технологических специальностей ВУЗов.
Решение оформлено в формате WORD.
Пожалуйста оставьте положительный отзыв после получения решения.
Заранее спасибо.
Условие задания Д9 (Стр. 60-63 задачник Тарг С.М. 1983):
Механическая система состоит из ступенчатых шкивов 1 и2 весом P1 и P2 с радиусами ступеней R1 = R, r1 = 0,4R; R2 = R, r3 = 0,8R (массу каждого шкива считать равномерно распределенной по его внешнему ободу); грузов 3, 4 и сплошного однородного цилиндрического катка 5 весом P3, P4, P5 соответственно (рис. Д9.0-Д9.9 табл. Д9). Тела системы соединены нитями, намотанными на шкивы; участки нитей параллельны соответствующим плоскостям. Грузы Скользят по плоскостям без трения, а катки катяться без скольжения.
Кроме сил тяжести на одно из тел системы действует постоянная сила F, а на шкивы 1 и 2 при их вращении действуют постоянные моменты сил сопротивления, равные соответственно M1 и M2.
Составить для данной системы уравнение Лагранжа и определить из него величину, указанную в таблице в столбце «Найти», где обозначено: ε1, ε2 – угловые ускорения шкивов 1 и 2; а3, а4, аС5 – ускорения грузов 3, 4 и центра масс катка 5 соответственно. Когда в задаче надо определить ε1, ε2, считать R = 0,25 м.
Тот из грузов 3, 4 вес которого равен нулю, на чертеже не изображать. Шкивы 1 и 2 всегда входят в систему.
Задача Д9 - на применение к изучению движения системы уравнения Лагранжа.
После оплаты Вы получите ссылку на zip-архив с решением задачи Д9 Вариант 90 по теоретической механике из решебник Тарг С.М. 1983 г. для заочников.
Задача сделана по методичке для студентов-заочников теплоэнергетических, горных, металлургических, электро-приборостроительных, автоматизации и технологических специальностей ВУЗов.
Решение оформлено в формате WORD.
Пожалуйста оставьте положительный отзыв после получения решения.
Заранее спасибо.