USSR SHOP »
Магазин » Решение К1-85 (Рисунок К1.8 условие 5 С.М. Тарг 1989 г)
Купить Решение К1-85 (Рисунок К1.8 условие 5 С.М. Тарг 1989 г)
Всего продаж: 0
✅ Методы оплаты: 












Описание товара:
Решение К1-85 (Рисунок К1.8 условие 5 С.М. Тарг 1989 г)
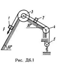
Под номером К1 помещены две задачи К1а и К1б, которые надо решить. Задача К1а. Точка В движется в плоскости xy (рис. К1.0 — К 1.9, табл. К1; траектория точки на рисунках показана условно). Закон движения точки задан уравнениями: x = f1(t), y = f2(t), где x и y выражены в сантиметрах, t — в секундах. Найти уравнение траектории точки; для момента времени t1 = 1 с определить скорость и ускорение точки, а также ее касательное и нормальное ускорения и радиус кривизны в соответствующей точке траектории. Зависимость x = f1(t) указана непосредственно на рисунках, а зависимость y = f2(t) дана в табл. K1 (для рис. 0—2 в столбце 2, для рис. 3—6 в столбце 3, для рис. 7—9 в столбце 4). Как и в задачах С1 — С4, номер рисунка выбирается по предпоследней цифре шифра, а номер условия в табл. К1 — по последней. Задача К1б. Точка движется по дуге окружности радиуса R = 2 м по закону s = f(t), заданному в табл. К1 в столбце 5 (s — в метрах, t — в секундах), где s =AM — расстояние точки от некоторого начала A, измеренное вдоль дуги окружности. Определить скорость и ускорение точки в момент времени t1 = 1 с. Изобразить на рисунке векторы v и a, считая, что точка в этот момент находится в положении M, а положительное направление отсчета s — от А к М.
Под номером К1 помещены две задачи К1а и К1б, которые надо решить. Задача К1а. Точка В движется в плоскости xy (рис. К1.0 — К 1.9, табл. К1; траектория точки на рисунках показана условно). Закон движения точки задан уравнениями: x = f1(t), y = f2(t), где x и y выражены в сантиметрах, t — в секундах. Найти уравнение траектории точки; для момента времени t1 = 1 с определить скорость и ускорение точки, а также ее касательное и нормальное ускорения и радиус кривизны в соответствующей точке траектории. Зависимость x = f1(t) указана непосредственно на рисунках, а зависимость y = f2(t) дана в табл. K1 (для рис. 0—2 в столбце 2, для рис. 3—6 в столбце 3, для рис. 7—9 в столбце 4). Как и в задачах С1 — С4, номер рисунка выбирается по предпоследней цифре шифра, а номер условия в табл. К1 — по последней. Задача К1б. Точка движется по дуге окружности радиуса R = 2 м по закону s = f(t), заданному в табл. К1 в столбце 5 (s — в метрах, t — в секундах), где s =AM — расстояние точки от некоторого начала A, измеренное вдоль дуги окружности. Определить скорость и ускорение точки в момент времени t1 = 1 с. Изобразить на рисунке векторы v и a, считая, что точка в этот момент находится в положении M, а положительное направление отсчета s — от А к М.