USSR SHOP »
Магазин » Решение Д1-88 (Рисунок Д1.8 условие 8 С.М. Тарг 1989 г)
Купить Решение Д1-88 (Рисунок Д1.8 условие 8 С.М. Тарг 1989 г)
Всего продаж: 0
✅ Методы оплаты: 











Описание товара:
Решение Д1-88 (Рисунок Д1.8 условие 8 С.М. Тарг 1989 г)
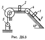
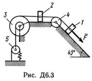
Груз D массой m, получив в точке A начальную скорость v0 движется в изогнутой трубе AВС, расположенной в вертикальной плоскости; участки трубы или оба наклонные, или один горизонтальный, а другой наклонный (рис. Д1.0 — Д1.9, табл. Д1). На участке AВ на груз кроме силы тяжести действуют постоянная сила Q (ее направление показано на рисунках) и сила сопротивления среды R, зависящая от скорости v груза (направлена против движения); трением груза о трубу на участке AВ пренебречь. В точке В груз, не изменяя своей скорости, переходит на участок ВС трубы, где на него кроме силы тяжести действуют сила трения (коэффициент трения груза о трубу f = 0,2) и переменная сила F, проекция которой Fx на ось х задана в таблице. Считая груз материальной точкой и зная расстояние AВ = l или время t1 движения груза от точки А до точки В, найти закон движения груза на участке ВС, т. е. х = f(t), где х = BD.
Груз D массой m, получив в точке A начальную скорость v0 движется в изогнутой трубе AВС, расположенной в вертикальной плоскости; участки трубы или оба наклонные, или один горизонтальный, а другой наклонный (рис. Д1.0 — Д1.9, табл. Д1). На участке AВ на груз кроме силы тяжести действуют постоянная сила Q (ее направление показано на рисунках) и сила сопротивления среды R, зависящая от скорости v груза (направлена против движения); трением груза о трубу на участке AВ пренебречь. В точке В груз, не изменяя своей скорости, переходит на участок ВС трубы, где на него кроме силы тяжести действуют сила трения (коэффициент трения груза о трубу f = 0,2) и переменная сила F, проекция которой Fx на ось х задана в таблице. Считая груз материальной точкой и зная расстояние AВ = l или время t1 движения груза от точки А до точки В, найти закон движения груза на участке ВС, т. е. х = f(t), где х = BD.