USSR SHOP »
Магазин » Решение Д10-16 (Рисунок Д10.1 условие 6 С.М Тарг 1989г)
Купить Решение Д10-16 (Рисунок Д10.1 условие 6 С.М Тарг 1989г)
Обновлено: 2025-10-22 23:03:47
$ 0.61
0 продаж
Всего продаж: 0
✅ Методы оплаты: 










Описание товара:
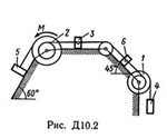
Решение Д10-16 (Рисунок Д10.1 условие 6 С.М Тарг 1989г)
Механическая система состоит из однородных ступенчатых шкивов 1 и 2, обмотанных нитями, грузов 3—6, прикрепленных к этим нитям, и невесомого блока (рис. Д10.0 — Д10.9, табл. Д10). Система движется в вертикальной плоскости под действием сил тяжести и пары сил с моментом М, приложенной к одному из шкивов. Радиусы ступеней шкива 1 равны: R1 = 0,2 м, r1 — 0,1 м, а шкива 2 — R2 = 0,3 м, r2 = 0,15 м; их радиусы инерции относительно осей вращения равны соответственно ρ1 = 0,1 м и ρ2 = 0,2 м. Пренебрегая трением, определить ускорение груза, имеющего больший вес; веса Р1, …, Р6 шкивов и грузов заданы в таблице в ньютонах. Грузы, веса которых равны нулю, на чертеже не изображать (шкивы 1, 2 изображать всегда как части системы).
Механическая система состоит из однородных ступенчатых шкивов 1 и 2, обмотанных нитями, грузов 3—6, прикрепленных к этим нитям, и невесомого блока (рис. Д10.0 — Д10.9, табл. Д10). Система движется в вертикальной плоскости под действием сил тяжести и пары сил с моментом М, приложенной к одному из шкивов. Радиусы ступеней шкива 1 равны: R1 = 0,2 м, r1 — 0,1 м, а шкива 2 — R2 = 0,3 м, r2 = 0,15 м; их радиусы инерции относительно осей вращения равны соответственно ρ1 = 0,1 м и ρ2 = 0,2 м. Пренебрегая трением, определить ускорение груза, имеющего больший вес; веса Р1, …, Р6 шкивов и грузов заданы в таблице в ньютонах. Грузы, веса которых равны нулю, на чертеже не изображать (шкивы 1, 2 изображать всегда как части системы).
Изображения:
Вас могут заинтересовать:
03.06.2016
2 продажи
Решение Д10-82 (Рисунок Д10.8 условие 2 С.М Тарг 1989г)
Купить
$ 0.61
03.06.2016
2 продажи
Решение Д10-77 (Рисунок Д10.7 условие 7 С.М Тарг 1989г)
Купить
$ 0.61
03.06.2016
1 продажа
Решение Д10-61 (Рисунок Д10.6 условие 1 С.М Тарг 1989г)
Купить
$ 0.61

03.06.2016
1 продажа
Решение Д10-07 (Рисунок Д10.0 условие 7 С.М Тарг 1989г)
Купить
$ 0.49

03.06.2016
1 продажа
Решение Д10-20 (Рисунок Д10.2 условие 0 С.М Тарг 1989г)
Купить
$ 0.49

03.06.2016
1 продажа
Решение Д10-06 (Рисунок Д10.0 условие 6 С.М Тарг 1989г)
Купить
$ 0.49
03.06.2016
1 продажа
Решение Д10-52 (Рисунок Д10.5 условие 2 С.М Тарг 1989г)
Купить
$ 0.61
03.06.2016
1 продажа
Решение Д10-91 (Рисунок Д10.9 условие 1 С.М Тарг 1989г)
Купить
$ 0.61

03.06.2016
1 продажа
Решение Д10-34 (Рисунок Д10.3 условие 4 С.М Тарг 1989г)
Купить
$ 0.49
03.06.2016
1 продажа
Решение Д10-05 (Рисунок Д10.0 условие 5 С.М Тарг 1989г)
Купить
$ 0.61
03.06.2016
1 продажа
Решение Д10-28 (Рисунок Д10.2 условие 8 С.М Тарг 1989г)
Купить
$ 0.61
03.06.2016
1 продажа
Решение Д10-29 (Рисунок Д10.2 условие 9 С.М Тарг 1989г)
Купить
$ 0.61
03.06.2016
1 продажа
Решение Д10-43 (Рисунок Д10.4 условие 3 С.М Тарг 1989г)
Купить
$ 0.61
03.06.2016
1 продажа
Решение Д10-83 (Рисунок Д10.8 условие 3 С.М Тарг 1989г)
Купить
$ 0.61
03.06.2016
0 продаж
Решение Д10-00 (Рисунок Д10.0 условие 0 С.М Тарг 1989г)
Купить
$ 0.61
03.06.2016
0 продаж
Решение Д10-02 (Рисунок Д10.0 условие 2 С.М Тарг 1989г)
Купить
$ 0.61
03.06.2016
0 продаж
Решение Д10-03 (Рисунок Д10.0 условие 3 С.М Тарг 1989г)
Купить
$ 0.61
03.06.2016
0 продаж
Решение Д10-04 (Рисунок Д10.0 условие 4 С.М Тарг 1989г)
Купить
$ 0.61
03.06.2016
0 продаж
Решение Д10-08 (Рисунок Д10.0 условие 8 С.М Тарг 1989г)
Купить
$ 0.61
03.06.2016
0 продаж
Решение Д10-09 (Рисунок Д10.0 условие 9 С.М Тарг 1989г)
Купить
$ 0.61
03.06.2016
0 продаж
Решение Д10-21 (Рисунок Д10.2 условие 1 С.М Тарг 1989г)
Купить
$ 0.61
03.06.2016
0 продаж
Решение Д10-27 (Рисунок Д10.2 условие 7 С.М Тарг 1989г)
Купить
$ 0.61
03.06.2016
0 продаж
Решение Д10-31 (Рисунок Д10.3 условие 1 С.М Тарг 1989г)
Купить
$ 0.61
03.06.2016
0 продаж
Решение Д10-35 (Рисунок Д10.3 условие 5 С.М Тарг 1989г)
Купить
$ 0.61
03.06.2016
0 продаж
Решение Д10-36 (Рисунок Д10.3 условие 6 С.М Тарг 1989г)
Купить
$ 0.61
03.06.2016
0 продаж
Решение Д10-38 (Рисунок Д10.3 условие 8 С.М Тарг 1989г)
Купить
$ 0.61
03.06.2016
0 продаж
Решение Д10-42 (Рисунок Д10.4 условие 2 С.М Тарг 1989г)
Купить
$ 0.61
03.06.2016
0 продаж
Решение Д10-50 (Рисунок Д10.5 условие 0 С.М Тарг 1989г)
Купить
$ 0.61
03.06.2016
0 продаж
Решение Д10-51 (Рисунок Д10.5 условие 1 С.М Тарг 1989г)
Купить
$ 0.61
03.06.2016
0 продаж
Решение Д10-53 (Рисунок Д10.5 условие 3 С.М Тарг 1989г)
Купить
$ 0.61
03.06.2016
0 продаж
Решение Д10-54 (Рисунок Д10.5 условие 4 С.М Тарг 1989г)
Купить
$ 0.61
03.06.2016
0 продаж
Решение Д10-55 (Рисунок Д10.5 условие 5 С.М Тарг 1989г)
Купить
$ 0.61
03.06.2016
0 продаж
Решение Д10-56 (Рисунок Д10.5 условие 6 С.М Тарг 1989г)
Купить
$ 0.61
03.06.2016
0 продаж
Решение Д10-60 (Рисунок Д10.6 условие 0 С.М Тарг 1989г)
Купить
$ 0.61
03.06.2016
0 продаж
Решение Д10-62 (Рисунок Д10.6 условие 2 С.М Тарг 1989г)
Купить
$ 0.61
03.06.2016
0 продаж
Решение Д10-63 (Рисунок Д10.6 условие 3 С.М Тарг 1989г)
Купить
$ 0.61
03.06.2016
0 продаж
Решение Д10-64 (Рисунок Д10.6 условие 4 С.М Тарг 1989г)
Купить
$ 0.61
03.06.2016
0 продаж
Решение Д10-65 (Рисунок Д10.6 условие 5 С.М Тарг 1989г)
Купить
$ 0.61
03.06.2016
0 продаж
Решение Д10-71 (Рисунок Д10.7 условие 1 С.М Тарг 1989г)
Купить
$ 0.61
03.06.2016
0 продаж
Решение Д10-74 (Рисунок Д10.7 условие 4 С.М Тарг 1989г)
Купить
$ 0.61
03.06.2016
0 продаж
Решение Д10-75 (Рисунок Д10.7 условие 5 С.М Тарг 1989г)
Купить
$ 0.61
03.06.2016
0 продаж
Решение Д10-76 (Рисунок Д10.7 условие 6 С.М Тарг 1989г)
Купить
$ 0.61
03.06.2016
0 продаж
Решение Д10-79 (Рисунок Д10.7 условие 9 С.М Тарг 1989г)
Купить
$ 0.61
03.06.2016
0 продаж
Решение Д10-80 (Рисунок Д10.8 условие 0 С.М Тарг 1989г)
Купить
$ 0.61
03.06.2016
0 продаж
Решение Д10-86 (Рисунок Д10.8 условие 6 С.М Тарг 1989г)
Купить
$ 0.61
03.06.2016
0 продаж
Решение Д10-87 (Рисунок Д10.8 условие 7 С.М Тарг 1989г)
Купить
$ 0.61
03.06.2016
0 продаж
Решение Д10-88 (Рисунок Д10.8 условие 8 С.М Тарг 1989г)
Купить
$ 0.61
03.06.2016
0 продаж
Решение Д10-89 (Рисунок Д10.8 условие 9 С.М Тарг 1989г)
Купить
$ 0.61
03.06.2016
0 продаж
Решение Д10-93 (Рисунок Д10.9 условие 3 С.М Тарг 1989г)
Купить
$ 0.61
03.06.2016
0 продаж
Решение Д10-99 (Рисунок Д10.9 условие 9 С.М Тарг 1989г)
Купить
$ 0.61