USSR SHOP »
Магазин » Ремонт рамы (сочленения) фронтального погрузчика L-34
Купить Ремонт рамы (сочленения) фронтального погрузчика L-34
Описание товара:
Ремонт сочленения - места соединения передней и задней рам, является наиболее актуальным для фронтальных погрузчиков Л-34. В первую очередь это объясняется уже достаточно большим жизненным сроком этой техники. Большинство этих погрузчиков было выпущено в 80-е годы прошлого столетия, и уже достаточно сильно исчерпали свой ресурс.
С учетом большой грузоподъемности фронтальных погрузчиков L-34, их маневренности, условий эксплуатации и немалой массы самой машины, на места соединения двух рам оказываются очень большие усилия. В конечном итоге это приводит к тому, что без ремонта этого узла, дальнейшая эксплуатация погрузчика становится или сильно затруднена, или невозможна.
Для ремонта сочленения вовсе нет необходимости везти весь погрузчик в ремонтную организацию, как было рекомендовано при выпуске модели заводом изготовителем. Эти работы с успехом уже практиковались как в условиях небольших организаций с открытой площадкой, так и в условиях карьера, в чистом поле.
Все, что для этого необходимо и как производить работы, описано в этом руководстве по ремонту сочленения, или, по другому, - шарнирного соединения передней и задней рам фронтального погрузчика L-34
В руководство входят
1. Фотографии шарнирного соединения погрузчика L-34 на различных этапах сборки и восстановительных работ. Это поможет более наглядно представить наиболее важные моменты в ремонте.
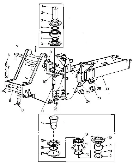
2. Часть каталога на фронтальный погрузчик L-34 с каталожными номерами и схематическим видом всех необходимых для ремонта деталей. По каталогу ведется основное описание всех выполняемых работ.
3. Техническая документация, разработанная конструкторским отделом ВОЭЗ на контроль и регулировку шарнирного соединения рамы 313-04-0000-0-01 гидравлического погрузчика L-34. Уже одного этого документа должно было бы быть достаточно для самостоятельного восстановления шарнирного соединения и всех сопряженных в этом узле деталей.
4. Описание процесса разборки, сборки, определения неисправностей и методов ремонта, применяемых в ремонтных организациях для восстановления шарнирного соединения погрузчика L-34
5. Вес архива для скачивания 23 МВ.
С учетом большой грузоподъемности фронтальных погрузчиков L-34, их маневренности, условий эксплуатации и немалой массы самой машины, на места соединения двух рам оказываются очень большие усилия. В конечном итоге это приводит к тому, что без ремонта этого узла, дальнейшая эксплуатация погрузчика становится или сильно затруднена, или невозможна.
Для ремонта сочленения вовсе нет необходимости везти весь погрузчик в ремонтную организацию, как было рекомендовано при выпуске модели заводом изготовителем. Эти работы с успехом уже практиковались как в условиях небольших организаций с открытой площадкой, так и в условиях карьера, в чистом поле.
Все, что для этого необходимо и как производить работы, описано в этом руководстве по ремонту сочленения, или, по другому, - шарнирного соединения передней и задней рам фронтального погрузчика L-34
В руководство входят
1. Фотографии шарнирного соединения погрузчика L-34 на различных этапах сборки и восстановительных работ. Это поможет более наглядно представить наиболее важные моменты в ремонте.
2. Часть каталога на фронтальный погрузчик L-34 с каталожными номерами и схематическим видом всех необходимых для ремонта деталей. По каталогу ведется основное описание всех выполняемых работ.
3. Техническая документация, разработанная конструкторским отделом ВОЭЗ на контроль и регулировку шарнирного соединения рамы 313-04-0000-0-01 гидравлического погрузчика L-34. Уже одного этого документа должно было бы быть достаточно для самостоятельного восстановления шарнирного соединения и всех сопряженных в этом узле деталей.
4. Описание процесса разборки, сборки, определения неисправностей и методов ремонта, применяемых в ремонтных организациях для восстановления шарнирного соединения погрузчика L-34
5. Вес архива для скачивания 23 МВ.