USSR SHOP »
Магазин » Решение задачи Д6 В00 (рис. 0 усл. 0) термех Тарг 1988
Купить Решение задачи Д6 В00 (рис. 0 усл. 0) термех Тарг 1988
Всего продаж: 0
✅ Методы оплаты: 











Описание товара:
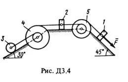
Решение задачи Д6 Вариант 00 по теормеху из методички Тарга С.М. 1988 года (Также совпадает с задачей Д8 Тарг 1983). Сверьте условие к задаче Д6 (стр. 56 в методичке Тарг С.М.): Механическая система состоит из тел 1, 2, 3, 4, 5, имеющих веса Р1, Р2, Р3, Р4, P5 соответственно; тела системы связаны нитями, намотанными на ступенчатые блоки 1 и 2 (рис. Д6.0-Д6.9, табл. Д6). Прочерк в столбцах таблицы, где заданы веса, означает, что соответствующее тело в систему не входит (на чертеже не изображать), а ноль в столбцах таблицы означает, что тело считается невесомым, но в систему входит (на чертеже должно быть изображено). Для колес, обозначенных номером 4, Р4 - их общий вес (вес платформы такой тележки не учитывается). Радиусы ступенчатых блоков 1 и 2 равны соответственно: R1=R, r1 = 0,8R; R2 = R, r2 = 0,4 R. При вычислении моментов инерции оба блока, колеса и катки считать однородными цилиндрами радиуса R. На систему кроме сил тяжести действуют сила F. приложенная к телу 4 или 5 (если тело 5 в систему не входит, сила приложена в точке В к тележке), и пары сил с моментами М1 и М2, приложенные к блокам (при М < 0 направление момента противоположно показанному на рисунке). На участке нити, указанном в таблице в столбце "Пружина", включена пружина с коэффициентом жесткости с (например, если в столбце стоит АВ, то участок АВ является пружиной, если AD то AD пружина, и т.д.) ; в начальный момент времени пружина не деформирована. Составить для системы уравнения Лагранжа и определить из них частоту и период колебаний, совершаемых телами системы при ее движении.
После оплаты Вам будет предложено скачать решение задачи Д6 В00 (рисунок 0 условие 0) по теоретической механике из решебника Тарга С.М. 1988 года для заочников. Решение выполнено по методическим указаниям и контрольным заданиям для студентов-заочников энергетических и других специальностей ВУЗов. Решение оформлено в формате word/pdf/рукопись в формате jpg или gif, упаковано в архив zip.
Буду очень рад, если после успешной сдачи решения Вы вернетесь на сайт и оставите положительный отзыв. Поверьте, для меня это очень Важно.
Заранее спасибо.
После оплаты Вам будет предложено скачать решение задачи Д6 В00 (рисунок 0 условие 0) по теоретической механике из решебника Тарга С.М. 1988 года для заочников. Решение выполнено по методическим указаниям и контрольным заданиям для студентов-заочников энергетических и других специальностей ВУЗов. Решение оформлено в формате word/pdf/рукопись в формате jpg или gif, упаковано в архив zip.
Буду очень рад, если после успешной сдачи решения Вы вернетесь на сайт и оставите положительный отзыв. Поверьте, для меня это очень Важно.
Заранее спасибо.